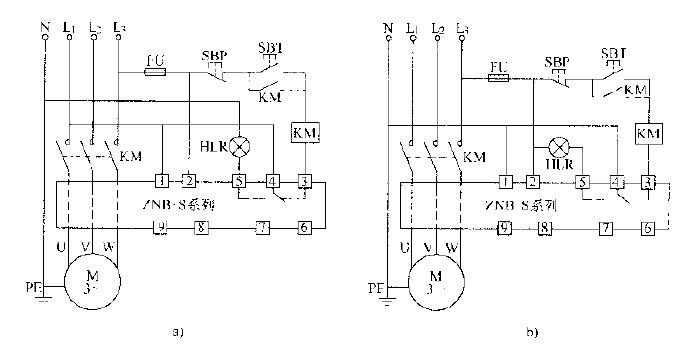
双华ZNB-S全压起动电路
来源:互联网发布者:明天见 关键词: 起动电路 更新时间: 2021/05/01

这里还没有内容,您有什么问题吗?
电子电路资源推荐
- 个人制作3D元件库:电解电容.STEP

来源:下载中心
- ADC与DAC

来源:大学堂
- AD封装库:Maxim

来源:下载中心
- 卡尔曼滤波器

来源:大学堂
- 电工基础:电路的组成

来源:电路图
- 电路的基本物理量:电流,电压,电位,电动势,电功率

来源:电路图
推荐帖子 最新更新时间:2026-03-24 05:56
- TFT-LCD驱动电路的设计
- 本文实现了将 VGA 接口信号转换到模拟液晶屏上显示的驱动电路,采用 ADI 公司的高性能 DSP 芯片 ADSP-21160 来实现驱动电路的主要功能。 TFT-LCD驱动电路的设计 thank u for sharing~~~~~ Re: TFT-LCD驱动
feifei
模拟电子
- 麻烦哪位能给我传一份LM3S9B96的Startup.s
- 因为9B96有Port J,可是Startup.s里的中断向量表里没有Port J的“IntDefaultHandler”,所以进不去中断。如果谁有麻烦给我一份啊。谢谢先。 zzgezi@126.com . 麻烦哪位能给我传一份LM3S9B96的Startup.s
zzgezi
微控制器 MCU
- ADS1298——用于ECGEEG的完整模拟前端
- ADS1298——用于ECGEEG的完整模拟前端
德州仪器
TI技术论坛
- Android开发细节详说
- Android开发语言在中国的前景十分广阔,首先是有成熟的消费者,包括OPPO,中国移动,中国联通,华为通讯,联想等大企业都在关注这个操作系统,希望能给他们带来更多的收益。它有潜力同时涵盖移动电话的两个不同消费群体,甚至可能缩小工作和娱乐之间的差别。 如今,很多基
djdhn
单片机
- 谁帮我看一下这个简单代码的错误原因
- 写代码时,一个小模块用到三八译码器,可是有问题,不能通过语法检查。看了半天也没看出来毛病在哪里。代码如下: module decoder_vtf; // Inputs reg in; // Outputs wire out; //Define the
苍穹的眼泪
FPGA/CPLD
- 【TI、EEWORLD双节献礼】LM3S9B96开发套件等你来拿!(已颁奖)
- 【颁奖礼】LM3S9B96开发套件双节献礼~~ https://bbs.eeworld.com.cn/thread-307854-1-1.html ———————————————————————————————————————— 刚到中秋,又迎国庆,为庆
EEWORLD社区
微控制器 MCU
- 2602新型测试仪器典型的设备结构有哪些?
- 在项目设计中测量频率!如何才能不陷入死循环!
- 请教大家关于zigbee在建筑业中应用的问题!
- TVS--瞬态电压抑制的一些资料!需要的收藏吧
- 哪种版本的picc18支持pic18f45k22
- djyos的可移植性(三)
- 汽车LED灯刚兴起即遇汽车市场低迷
- 2012年TI杯C题电子负载交流群198455776
- 2012TI杯题目猜想 大家对这道题目有什么方案啊!
- 物联网智能家居--如何往zigbee模块(CC2530)里下载程序
- LED晶粒原料供过于求,下年仍无法解决
- 为什么我的1602接收不到430发出的时钟信号呢?1602不能正常显示
- msp入门程序
- 改善多路输出电源负载交错性能
- F28M35H52C1和CCS4的学习者群
- c8051f电源问题解决方法
- CN0156【10款典型实验室电路推荐】之八
- flash烧写咨询
- 综合布线存在三大误区,操作应用需谨慎
- 瑞泰创新2812实验箱手册
- 用于 MCU 系统负载感应的 NCP300LSN18T1 1.8V 电压检测器的典型应用
- LC72717PWGEVB,基于 LC72717 的 FM 复合信号评估板
- LT3469ETS8 演示板,具有升压稳压器的压电陶瓷微致动器驱动器,输入+,0V 至 3V,Vin = 5V 或 12V,Vout = 1V 至 33V
- 具有可编程增益跨阻放大器和数字同步检测的双通道色度计
- 使用 LT1205 100MHz 带宽和 85dB、10MHz 抑制的 4 x 4 视频交叉点
- LTC6259HTS8 1.3MHz、20uA 高功率高效轨至轨 I/O 运算放大器的典型应用
- LTC2497 演示板、16 位、8 通道 I2C Easy Drive ADC
- CN0235
- 使用 ROHM Semiconductor 的 BU4936 的参考设计
- AM2G-1209SZ 9V 2 瓦 DC-DC 转换器的典型应用







京公网安备
11010802033920号