这是一条海外车讯:这是一条好消息,关乎你未来爱车的行驶舒适性。近日,有海外汽车媒体报道,通用汽车正在寻求一种新的悬架技术,让未来的车辆行驶更加舒适,而且专利信息已经上报给美国专利商标局(USPTO)。

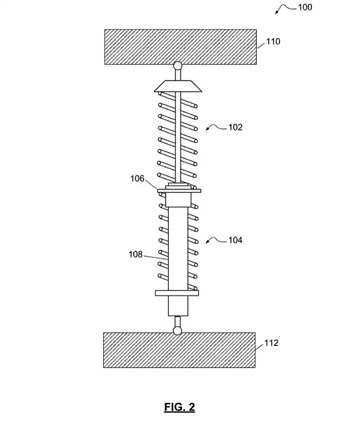
通用汽车是磁流变阻尼器的先驱,目前MRC(电磁悬架)应用效果不错,这套系统是通过通电改变磁性流体来调节减振器阻尼硬度。11月7日美国专利商标局网站上公布了通用汽车最新的悬架专利,信息显示通用汽车2023年5月5日就申请了一款全新的电池悬架设计方案。

这套悬架是全新的磁流变技术,原理是通过磁体来调节流体的粘度,当流体中的金属颗粒与磁场发生反应时,粘度也会随之变化。目前,这一功能用于调节减振器的软硬度,但专利文件中显示,新悬架还能对弹簧相应速率进行调节,以突出悬架强度以及舒适性。


从申请的专利图可以看到,这套减振器由两部分独立弹簧组成,中央有个底座,下半部分就是磁流体腔室,当磁体通电时,腔内流体会变得更厚实,可有效抑制弹簧运动。在减少电磁铁能量时,阻尼感会变小,悬挂可获得更多行程。


不过,并不意味着申报专利就会实现量产,不难想象未来底盘悬挂系统会有新的突破,自适应悬挂一定会与魔毯阻尼技术整合在一起。除了通用汽车外,未来还会有更多车企进行跟进,比如福特汽车正在研究的位置敏感减振器,未来装车后,将与通用Multimatic DSSV(动态悬架滑阀)减振器进行竞争,让我们拭目以待。
上一篇:从产品和投资角度 - 浅谈智能汽车线控制动的底层逻辑
下一篇:梅赛德斯-奔驰技术先锋驾临,全新CLA电驱科技揭秘
- 热门资源推荐
- 热门放大器推荐
- AZ7045RTR低压指示检测器典型应用电路
- LTM4608AMPY 3V 至 5.5Vin、2.5V/8A 输出 DC/DC 稳压器的典型应用电路
- 使用 L6562A 的恒流反向降压 LED 驱动器
- EP53A7HQI 1A同步降压稳压器典型应用电路
- OP284FSZ 缓冲网络补偿容性负载的典型应用
- EVAL-AD5116SDZ,用于仪表的 AD5116 数字电位器的评估板
- 用于音频的 4 通道 D 类音频功率放大器
- 使用 ON Semiconductor 的 ML4841 的参考设计
- LT3755IUD-1 降压模式 500mA LED 驱动器的典型应用电路,用于 20kHz PWM 调光
- RDR-669 - 使用 LinkSwitch-CV 的 5 W、85-265 VAC、恒压 (CV) 适配器

现代雷达系统的信号设计
LM741L
BFR340T






京公网安备 11010802033920号