1 研究背景
电动汽车用减速器输入轴结合面密封处漏油现象十分普遍,而且漏油现象一直难以得到有效的解决。其原因主要有:油封结构和本身质量问题,如油封结构不合理,缩口处不光滑,不均匀,有残缺失圆。
主动轴凸缘轴颈与油封配合时,由于主动轴高速转动,箱体内压力较高,油封密封不严,润滑油就很容易漏出。
减速器输入轴油封渗漏油现象严重影响产品的外观,造成因缺油而引起的齿轮磨损,提高了消费者的使用成本。输入轴渗漏油现象也大量存在于各轴承和油封之中。电动汽车用减速器输入轴结合面密封处漏油现象十分普遍,而且漏油现象一直难以得到有效的解决,这个问题一直制约着电动汽车的发展。如何对电动汽车用减速器进行改进,解决输入轴漏油现象十分迫切。
2 改进思路
通过对问题进行剖析。大量润滑油随着轴承的运转进入箱体与轴承之间的空隙处,长时间工作后形成的高压润滑油,迫使油封毛粘变形,从而使动密封处出现大的间隙引发渗漏油现象。加之减速器下箱体油槽设计不合理,使得回油不畅通,导致了油压增加,加剧了泄漏的产生。通过以上分析,总结出解决油封渗漏油的解决方案:
1)改进油封结构,使油封抗压搞耐磨损能力加强。
2)改变箱体结构,增加单向泄油孔,使高压润滑油从泄油孔回流工作腔中,从而降低油封附近油压。
3 改进方案
3.1 总体结构图
减速器总体设计方案如图1所示,具体实施方案如图2所示。

图1 单级减速器结构图

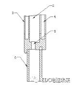
图2 领圈油封处的结构示意图
3.2 主要技术说明
本文设计的电动汽车用单级减速器,其结构如上图4所示、图5所示,包括包括箱体1、领圈油封2、毛毡条3、钢圈4、回油孔5、档油板6、轴承7、第一轴承盖8、小圆锥齿轮9、大圆锥齿轮10、平键11、传动齿轮轴12、毡圈油封13、螺栓14、输入齿轮轴15、第二轴承盖16和输出齿轮轴17。传动齿轮轴12的下端设有输出齿轮轴17,且传动齿轮轴12的下端设有毡圈油封13,有效的防止输出齿轮轴17下端漏油。领圈油封2的一侧设有第一轴承盖8,第一轴承盖8上安装螺栓14,有效进行加固。领圈油封2的一侧设有输入齿轮轴15,进行输入转速,实现变速。传动齿轮轴12的上端设有第二轴承盖16,便于加固以及拆卸维修。
箱体1内部的一侧设有领圈油封2,领圈油封2的边侧设有毛毡条3,且毛毡条3之间设有钢圈4,且领圈油封2的下端设有回油孔5,回油孔5与箱体1的内部连接,且回油孔5下端的一侧连接档油板6,领圈油封2的一侧安装轴承7,且轴承7的一侧连接小圆锥齿轮9,小圆锥齿轮9的一侧与大圆锥齿轮10转动连接,且大圆锥齿轮10的一侧设有平键11,平键11的下端安装传动齿轮轴12,大圆锥齿轮10与传动齿轮轴12连接。
3.3 具体改进措施
1)改进油封结构。领圈油封处的毛毡条内置钢圈,防止毛毡条受热后收缩变形,防止油封的密封处出现大的间隙,有效的防止密封处出现漏油现象。
2)设置回油孔和档油板。当内部油量过高,油液可通过内置的回油孔和档油板引导油液回流,有效的降低密封出的回油压力。避免因为压力过高造成密封处漏油。
通过以上两个措施的改进,使减速器的输入轴渗漏油现象得到有效解决,成功解决了企业中的实际问题。
4 创新点
1)本文所设计的改进油封结构、在油封处的箱体上增设回油孔和挡板,能防止减速器漏油而引起的齿轮磨损。
2)本文设计的改进型减速器构思巧妙、结构简单、成本低。3)可推广到各轴承和油封的运用场合。
5 技术关键和主要技术指标
1)本文所设计圆锥齿轮减速器通过在领圈油封2处的毛毡条3内置钢圈4,有效的防止毛毡条3受热后容易沿着长度方向收缩变形,这可防止领圈油封2的密封处出现大的间隙,有效的防止密封处出现漏油现象。
2)同时在领圈油封2处设置了内置的回油孔5和档油板6,当内部油量过高,油液可通过内置的回油孔5和档油板6回流,有效的降低密封出的回油压力,避免因为压力过高造成密封处漏油,有效的使润滑油回流,降低润滑油聚集以及渗油现象。
上一篇:ECU软件和通用软件性能测试的区别
下一篇:混合动力汽车电池管理系统
推荐阅读最新更新时间:2026-03-19 18:34
- 边缘计算主机盒选购指南:五大核心指标解析
- Arm AGI CPU 更多细节:台积电 3nm 制程、Neoverse V3 微架构
- Arm AGI CPU 重磅发布:构筑代理式 AI 云时代的芯片基石
- Arm 拓展其计算平台矩阵,首次跨足芯片产品
- 阿里达摩院发布RISC-V CPU玄铁C950,首次原生支持千亿参数大模型
- 边缘 AI 加速的 Arm® Cortex® ‑M0+ MCU 如何为电子产品注入更强智能
- 阿里达摩院发布玄铁C950,打破全球RISC-V CPU性能纪录
- VPU中的“六边形战士”:安谋科技Arm China发布“玲珑”V560/V760 VPU IP
- 利用锚定可信平台模块(TPM)的FPGA构建人形机器人安全
- LTC2945IUD-1 在 -48V 系统中使用低侧检测进行电源监控的典型应用
- 用于 24V 汽车应用的 LTC4367IDD 过压电源保护控制器的典型应用
- LTC2635-HZ12 四通道、12 位数模转换器的典型应用
- 使用 ROHM Semiconductor 的 BU4821 的参考设计
- 使用 Analog Devices 的 AD9625 的参考设计
- LT1307CS8 高压反激式转换器的典型应用电路
- AD7858L 3V 至 5V 单电源、200ksps、8 通道、12 位采样 ADC 的典型应用
- AND8337/D、1.2V、1.5V DC 至 DC 单路输出电源参考设计
- DER-713 - 使用 InnoSwitch3-EP PowiGaN 和 MinE-CAP 的 65 W 高功率密度适配器
- LDK120C11R 1.1V低压降稳压器典型应用(可调版)电路

GBT+40432-2021电动汽车用传导式车载充电机
非常经典的关于LLC的杨波博士论文
XC6406PP60DL






京公网安备 11010802033920号