刹车灯相当于是一个行程开关,可以分为拉动型和压缩型两种;当我们踏下刹车踏板,杠杆下移,刹车灯开关内部的弹簧被拉伸,触发内部触点接通,电路形成回路,刹车灯就亮了;反之我们松开踏板,内部触点在弹簧力作用下复位,触点断开,刹车灯就熄灭了。压缩型的原理相同,但安装方向相反。
霍尔开关刹车位置原理:霍尔开关可以检测刹车踏板的位置,从而触发刹车灯的点亮。霍尔刹车位置开关3根接线分别为供电、搭铁、信号。里面通过霍尔元件,感应刹车位置,信号经过处理后,输出给汽车ECU,使用霍尔开关的特点是传感器无触点,使用寿命更长。

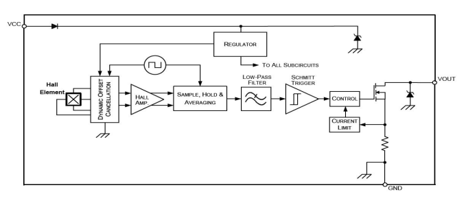
本方案推荐使用中科阿尔法AH501高灵敏度双极霍尔开关芯片,是基于BCDMOS技术设计的,芯片包括温度补偿、比较器和输出驱动器。此外,机械应力对AH501的磁性参数影响很小,所以非常适用于工业环境和汽车的应用,符合AEC-Q100汽车电子行业测试标准。
AH501有三种封装形式:TO92S、Small-SOT23、SOT23-3L,封装符合 ROHS标准;性能参数如下:
•低功耗:2.5mA;
•工作电压:2.7 V~30 V;
•ESD高达:±12KV;
•有较强的抗机械应力特性;
•温度范围:-40℃~150℃;
•电源引脚具有反向电压保护;
上一篇:REASUNOS瑞森半导体高低压MOS在车载逆变器上的应用
下一篇:新能源汽车制动系统解析
- 热门资源推荐
- 热门放大器推荐
- 边缘计算主机盒选购指南:五大核心指标解析
- Arm AGI CPU 更多细节:台积电 3nm 制程、Neoverse V3 微架构
- Arm AGI CPU 重磅发布:构筑代理式 AI 云时代的芯片基石
- Arm 拓展其计算平台矩阵,首次跨足芯片产品
- 阿里达摩院发布RISC-V CPU玄铁C950,首次原生支持千亿参数大模型
- 边缘 AI 加速的 Arm® Cortex® ‑M0+ MCU 如何为电子产品注入更强智能
- 阿里达摩院发布玄铁C950,打破全球RISC-V CPU性能纪录
- VPU中的“六边形战士”:安谋科技Arm China发布“玲珑”V560/V760 VPU IP
- 利用锚定可信平台模块(TPM)的FPGA构建人形机器人安全
- LTC3630AMPMSE 5V 至 76V 输入至 5V 输出、高效率、500mA 稳压器的典型应用电路
- 具有 400mA 突发钳位、fSW = 1MHz 同步降压型稳压器的 LTC3621IMS8E-2 2.5V Vout 的典型应用
- 带有集成温度监控器的 FDMF5820DC 智能功率级 (SPS) 模块的典型应用电路
- 手机音频放大器电源
- 使用 Infineon Technologies AG 的 OM8506SC 的参考设计
- 一种基于89C51的直流稳压电源电路图
- AKD4626,带 2CH ADC 和 6CH DAC 的 AK4626 音频编解码器评估板
- 适用于日本市场的应用说明 TDx5101x 低功率天线板
- 使用 Broadcom Inc 的 HCMS-2912 的参考设计
- ADA4610-2ARMZ等效前置放大光电二极管电路典型应用电路

现代雷达系统的信号设计
MAX4202EUK+

BFR340T






京公网安备 11010802033920号