苹果公司正在研究如何将MacBook Pro键盘上的一个键拿出来,作为一个精确的鼠标使用。一份新披露的专利申请详细说明了这种简单的奇特方式。

这项苹果专利申请名为“可部署的按键鼠标”,听起来不像是苹果公司典型的未来主义计划,而更像是对20世纪80年代触控板前时代的回溯。那时,PC用户可以将鼠标扣在笔记本电脑的侧面,并努力使用这些极不符合人体工程学的设备。
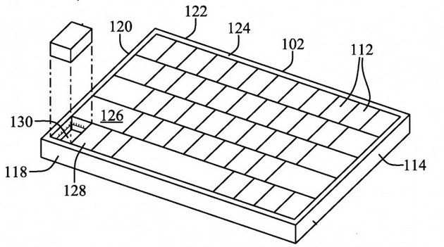
这项专利申请提出,普通键盘,如MacBook Pro上的键盘,可以有一个可拆卸的特殊键。拿出那个键,或者是iPad魔术键盘上较新的“全局”键,这就是你的鼠标。苹果在专利申请中表示,可拆卸的按键可以有一个位置传感器,因此它可以作为电脑指向装置来操作,因此,可移动的键结构可以为计算机输入系统提供舒适、便携和精确的指针输入。

苹果在专利当中表示,在某些情况下,笔记本电脑和平板电脑等便携式计算设备从使用外围鼠标输入设备中获益,然而这样一来,用户就不得不把单独的鼠标带上,而且当电脑已经有内置的指向性设备时,单独的设备可能是多余的。
因此,苹果这个专利不是要取代触控板,而是在更需要精细控制而不是手指控制时提供一个可选的鼠标。虽然该申请没有详细说明用途和好处,但你可以想象一个Photoshop用户在编辑图像时偶尔需要真正的精确。专利申请中的细节显示了两种不同的方式,让这种键可以很容易地被移除而作为鼠标使用。
该专利申请关注的是物理按键如何在键盘内和键盘外都能工作。在其中,该键必须像键盘上的任何其他键一样作出反应和回应。然后,当它被移除时,它必须具有这种位置感应能力,从MacBook Pro或其他设备上拆下来时,它必须有自己的电路和电池。它必须做到这一点,同时又是一个非常、非常小的鼠标。
上一篇:OPPO影像研发总监刘谦易:连续光学变焦模组占据空间不大
下一篇:努比亚Z30 Pro已经支持模拟门禁卡,官方发布教程
推荐阅读
史海拾趣
- 看MCU精品课程,让你立马变身考试达人!
- 答题赢好礼:ADI MEMS工业监测助力机器大健康发展
- 【看电源研讨会 抽好礼】避免常见的AC-DC设计缺陷
- 嵌入式工程师AI挑战营(初阶):基于RV1106,动手部署手写数字识别落地
- 2024上海国际嵌入式展报名通道开启
- 免费下载|TE 白皮书《暖通空调制冷系统中压力传感器的重要性》
- 有奖技术直播:Keysight量子计算测量方案线上研讨会
- 推陈出“芯“——TI 带你领略智能手机黑科技在线直播 预报名+看直播 好礼让你嗨翻全场!
- 只为汽车更安全,下载 TI DRV3000系列产品手册,抢楼截图入好礼喽!
- Qorvo 技术站首发,六大应用设计资源大放送!


XC6406PP60DL






京公网安备 11010802033920号