本文介绍了适用于汽车电子(如远程信息处理盒)的四路输出、三路单芯片降压转换器和升压控制器参考设计。该参考设计采用故障保护方案,可针对负载突降、冷启动或电池反接等输入瞬变提供支持。
介绍
汽车交流发电机和点火系统产生的能量产生的电压瞬变,或由于汽车碰撞等外部因素引起的故障事件,都会影响汽车系统中的电子电路。电子电路的可靠性可能会受到很大影响;因此,必须考虑针对这些不可预测事件的保护措施。例如,远程信息处理盒是汽车内部需要高可靠性和保护的电子系统。
本文中的电源系统设计是一种参考设计解决方案,可为需要四个电压输入的汽车电子模块提供保护和可靠性。它具有针对负载突降、冷启动和电池反接的输入故障保护功能。电源路径™当输入故障保护处于活动状态时,控制器允许主电池和备用电池之间的平滑切换。四路输出稳压器提供四个电压输出,并配有一个三通道单芯片降压转换器和一个升压控制器。其中一个降压输出可用于处理高输出峰值电流要求,例如通信模块上的峰值电流要求。当主电池处于活动状态时,可以通过线性电池充电器为备用电池充电。图1和图2显示了参考设计解决方案的基本框图和评估板。

图1.参考设计的基本框图。

图2.评估板硬件。
故障事件和场景
负载突降
当交流发电机系统正在为电池充电并且与电池的连接断开时,会发生负载突降。由于电缆退化、连接不当或在发动机运行时故意分离,电池可能会断开连接,从而导致负载突降。没有集中抛负载抑制的交流发电机系统允许交流发电机在电池突然断开的情况下产生极高的电压。对于100 V系统,由于定子的高电感和车辆的稳压器无法足够快地降低磁场电流,因此倾倒到负载上的电压可能高达12 V。

图3.负载突降方案。
冷启动
在启动或启动期间,发动机需要更多的动力,导致电池电压下降。一般来说,在寒冷的环境中启动发动机比在温暖的环境中启动发动机更难。这需要发动机消耗更多的动力,与正常起动相比,这会导致更大的压降。这种情况称为冷启动。图4中的波形显示了冷启动期间主电池低于其指定水平时的波形。

图4.冷启动场景示例。
反向电压
反向电压或简单的反向电池条件涵盖了人为错误情况,即有人将电池连接时极性反转。除非提供足够的保护,否则这可能导致破坏。
电路功能
故障保护
LTC4367 在断开 V 时充当电路的故障保护巴特电压至 V在当 V巴特电压过低、过高或为负。它具有精确的过压和欠压比较器,以确保仅在输入电源在允许的电压窗口内时才向系统供电。LTC4367 可自动将负载与负输入电压隔离开来。它可以运行高达 100 V 的过压保护和低至 –40 V 的欠压保护。

图5.典型电路及其功能的框图。

图6.VBATT有效和故障保护窗口。
备用电池
可通过 LTC4079 为备用电池充电,LTC4 具有一个多化学电池充电器,因而允许使用一种灵活的电池电压。参考设计电路使用约2.4079 V的充电电压。为避免电池过度充电,LTC10 还具有通过一个 C/2 检测器或一个约 30 小时 <> 分钟的设定充电定时器实现的充电终止功能。
VBATT 和 VBACKUP 之间的自动切换可通过 LTC4412 PowerPath 控制器实现。此功能允许 LT8603 通过从 VBATT 或 VBACKUP 抽取 VIN 来维持 VOUT4 上的输出电压。如果检测到 VBATT 断开或故障,控制器允许电流从 VBACKUP 流向 LT8603 的 VIN。当未检测到故障时,LTC4412 将阻塞连接 VBACKUP 至 LT8603 的 VIN 的路径。图7显示了电源切换事件的波形。

图7.冷启动时的电源切换事件。
在冷启动的情况下,VBATT从12 V降至2 V。VBATT路径断开,VBACKUP现在用作升压转换器的VIN,以便在VOUT4上保持8 V输出。当VBATT增加到~5 V时,它将再次用作升压转换器的VIN码。VOUT4仍将保持在8 V,直到VBATT达到8 V。当 VBATT 恢复到 12 V 的原始电压时,VOUT4 将跟随 VBATT 的电压。VOUT4上的小压降是由二极管正向电压引起的。电源切换允许 VOUT1、VOUT2 和 VOUT3 保持其稳压。
四路输出稳压器
LT8603 具有一个升压稳压器 VOUT4 和两个高压降压稳压器 VOUT1 和 VOUT2 和一个低压降压稳压器 VOUT3。升压稳压器能够为降压稳压器供电。LT8603 可在不同的输入电压电平下提供良好的输入和输出负载调节。图 8 显示了 LT8603 的输出调节。

图8.LT8603 的输出调节。
降压稳压器输出之一V的高输出峰值电流能力出2,用于涉及通信模块的应用。通信模块在8603.3 ms周期内需要6.4 V至0 V的典型输出电压和6.4 ms的输出峰值电流导通时间。在图6所示的测试条件下,监控系统的瞬态行为。V出2具有良好的瞬态响应,电压下冲和过冲最小。

图9.V的高输出峰值电流性能出2.
负载突降响应
参考设计板的输入故障保护和电源切换功能允许 LT8603 在发生抛负载事件的情况下工作。图10显示了抛负载条件的仿真波形,其中V巴特高达 100 V 升压的响应 V出4和降压稳压器之一 V出3.在由于负载倾倒引起的过冲期间,36 V V巴特达到限值,LTC4367 断开连接 V 的路径巴特到 V在.在出4现在来源其 V在从 V备份以维持稳定的8 V电平。作为 V巴特恢复到其原始级别,V出4然后将遵循 V巴特.

图 10.负载突降响应。
电路变化和实现
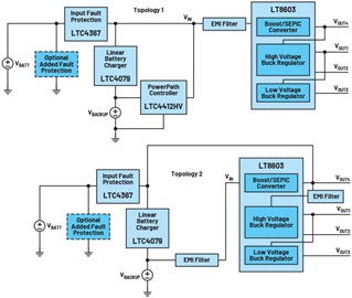
原理图设计的灵活性允许改变电路的实现方式。参考设计板具有“请勿安装”组件和路径连接器,允许用户使用拓扑 1 或拓扑 2 配置电路板。这也允许在V上配置升压或SEPIC转换器出4取决于应用。对于4367 V瞬态条件,可以在LTC150上实现用于增加输入故障保护的附加电路选项。有关配置的更多详细信息,请参见参考设计板的原理图。
图5所示的电路配置为拓扑1,最小V。备份电压为 2.5 V,V 之后有一个 EMI 滤波器在,并且能够通过 LTC4412HV 进行电源切换。五世在的升压控制器从 V 获取电源巴特或 V备份.在 V 期间巴特有效窗口,V出4通过升压转换器保持稳定的电压电平或遵循V巴特如图 6 所示。V型外巴特有效窗口,V出4来源于V备份以保持规定的设定水平。
拓扑 2 满足了对较低 V 的需求备份电压应用,例如 1.5 V 电平。当没有输入故障时,V巴特直接连接到 V出4而V备份是 V在到升压控制器。降压稳压器的输入端需要额外的滤波器,以获得更好的噪声滤波和EMI性能。当V时无缝实现电源切换巴特低于或高于其有效窗口。最小值 V巴特有效窗口的电压电平设置为V的调节电平出4.在 V 期间巴特有效窗口,V出4遵循 V巴特.V之外巴特有效窗口,V备份用于维持调节的设定水平。

图 11.电路变化。
| 拓扑 1 | 拓扑 2 | |
| 使用的集成电路 | LT8603、LTC4412HV、LTC4367、LTC4079 | LT8603、LTC4367、LTC4079 |
| 备用电池操作 | 在备份工作电压低至 2.5 V | 在备份工作电压低至 1.5 V |
| 电磁干扰输入滤波 | 升压稳压器前连接 | 在升压和降压稳压器输入之前连接 |
| 最小 V巴特有效窗口 | 在巴特可以低至 V备份水平 | 在巴特必须等于 V出4调节集电平 |
结论
汽车应用的不断发展需要更多的可靠性和安全性考虑。国际组织定义的标准对于设计人员发挥了重要作用,设计人员专注于可能导致可能有害或可能导致电子系统退化的电压瞬变的原因。总之,四路输出功率参考设计已经证明了其在输入过压、欠压和反向电压操作的仿真测试条件下的能力。此外,不同的电路变化在备用电池操作、最小电池电压电平、EMI输入滤波和元件数量方面具有灵活性。有关参考设计板的更多信息,请联系作者或您当地的ADI代表。
上一篇:了解汽车应用USB充电器设计面临的挑战
下一篇:深度解析车载摄像头核心技术
推荐阅读最新更新时间:2026-03-20 08:10
- 边缘计算主机盒选购指南:五大核心指标解析
- Arm AGI CPU 更多细节:台积电 3nm 制程、Neoverse V3 微架构
- Arm AGI CPU 重磅发布:构筑代理式 AI 云时代的芯片基石
- Arm 拓展其计算平台矩阵,首次跨足芯片产品
- 阿里达摩院发布RISC-V CPU玄铁C950,首次原生支持千亿参数大模型
- 边缘 AI 加速的 Arm® Cortex® ‑M0+ MCU 如何为电子产品注入更强智能
- 阿里达摩院发布玄铁C950,打破全球RISC-V CPU性能纪录
- VPU中的“六边形战士”:安谋科技Arm China发布“玲珑”V560/V760 VPU IP
- 利用锚定可信平台模块(TPM)的FPGA构建人形机器人安全
- 使用 ON Semiconductor 的 FAN2518S 的参考设计
- LTC1530S8、3.3V/3A 稳压器
- 使用 ON Semiconductor 的 ADP3167 的参考设计
- 使用 Analog Devices 的 LT3420EDD 的参考设计
- 基于Kinetis® M的低成本单相电表参考设计
- LTC3708、具有上升/下降轨跟踪功能的 2.5V/15A 和 1.2V/15A 稳压器
- NXQ1TXH5插件板
- 应变仪仪表放大器
- WRL-13287,基于 ESP8266 802.11 无线局域网的 SparkFun Wi-Fi Shield
- 4.1W、3-LED 通用 LED 照明驱动器

现代汽车雷达应用(英文)
现代雷达系统的信号设计
BFR340T






京公网安备 11010802033920号