0 引言
移动变电站是一个结构紧凑、转运方便、安装快捷的可移动式小型变电站。电气设备主要由高压开关、流变、压变、隔离闸刀、接地变、主变、站用变、低压开关柜、交直流系统及二次保护、监控系统等组成,整体搭载在移动式平板车上,应用领域广泛,可极大提高供电可靠性,缩短关键供电用户的停电时间,有效降低其经济损失[1]。在电力系统中,变电站的运行安全十分重要。变电站内设备对于地基平衡的要求也非常高,特别是变电站中最重要的设备——主变,其运行环境的水平平衡直接影响主变本体及分解开关配置的气体继电器、瓦斯继电器等设备的动作稳定性。车载式移动变电站设备主要配置于平板车上,依靠平板车配置的多个液压支撑杆保持设备运行基础面的水平度,以使电气设备稳定运行在同一个水平面上。
1 问题分析
1.1 车载式移动变电站结构
移动变电站设备配置图如图1、图2 所示。其高压部分一般采用线变组接线形式,由一回高压进线连接至双线圈三相无励磁降压变压器;低压部分采用单母线接线方式,设备采用金属铠装固定中置式开关柜,有低压馈线间隔、压变间隔、所用变间隔以及主变低压开关间隔。

图1 变电车布置图

图2 配电车布置图
主变配置有PCS978 电量保护,主要包括差动保护、复合电压闭锁、过流等。同时,配置有非电量保护,包括本体重瓦斯、本体轻瓦斯、有载重瓦斯和轻瓦斯、本体与有载的压力释放等保护。各类保护在车载式移动变电站运行时实现对故障的快速判断与排除。
1.2 水平度的高要求
配电车上布置有主变保护测控、远动主机及各出线设备保护测控装置。这些设备为微机型设备,对运行环境要求较高,一旦发生平衡问题,将对这些设备的运行稳定性带来风险。
由于主变为油绝缘设备,其非电量保护通过内部油的流速、油内气体量以及内部油压来实现实时保护。如果变电车发生失衡或倾斜,则将导致内部油位、油压、油速的变化,保护存在误动风险。一旦非电量保护误动,将跳开主变两侧开关,发生大面积的停电事故。
1.3 解决思路
预防为主,实时监测。研制一种无线的水平平衡监测装置,实现对车载式移动变电站各设备配置区的相关平衡度的实时监视和快速报警。配置1 台中央控制器,实现对监测装置的信息汇总以及状态评价,及时发出本地与远程报警信号,实现水平度异常的预防。同时,其还可以在车载式移动变调整各液压支撑结构时提供水平度的校核值,帮助移动变运行维护人员调整车载式移动变设备运行面的水平倾斜度。
2 方案探索
2.1 装置功能设计
车载式移动变电站设备主要配置于平板车上,依靠平板车配置的多个液压支撑杆保持设备运行基础面的水平度。各液压支撑杆应实现电动调节,与水平平衡监视器构成一体化联动,从而保证车载式移动变电站设备运行面的水平倾斜度达到运行要求。移动平板车水平度监测装置由2 部分组成:水平倾斜度监视模块和核心控制模块。其中监视模块最多支持6 个,可配置于各设备的支撑杆位置处与重要设备运行界面上,实现水平倾斜度的实时监视。核心控制模块负责接收各监视模块的监视数据,进行智能判断并输出判断结论。
2.2 装置面板设计
水平倾斜度监视模块的控制面板上配置有通信用天线、编程用USB 接口、充电用Type-C 接口、电源双位开关和双位置指示灯,如图3 所示。

图3 水平倾斜度监视模块面板效果图
核心控制模块的装置面板配置情况如图4 所示。除了基于5G 通信技术的天线外,还配置有WLAN 传输天线,从而实现与各水平倾斜度监视模块的信息交互[2]。同样, 常规配置还包括编程用USB 接口、充电用Type-C 接口、电源双位开关和双位置指示灯。声光报警器可实现数据越限的快速报警,高精度显示屏可实现可视化展现及管理。

图4 核心控制模块面板效果图
2.3 装置原理设计
5G+ 水平平衡监测系统的基本原理如图5 所示。该系统共分为两大部分,即前面讲到的水平倾斜度监视模块和核心控制模块。水平倾斜度监视模块通过角度传感器实现水平倾斜度数据监测,利用核心控制器(MCU)控制传感器实现3 次/min 的角度测量,从而保证水平度的监测时间频率。之后,MCU 将监测数据数字化后通过WLAN 网络传输至核心控制模块。核心控制模块通过WLAN 网络获取各水平倾斜度监视模块的数据,同时进行数据阈值判别,并根据阈值比较结果进行相应动作。若水平倾斜值超出或低于阈值,则由MCU 进行声光高进控制,并同步利用5G 网络发出报警短信及越限水平倾斜度监视模块的编号、数值等详细信息,以短信形式通知安全管理员,同时完成录波。

图5 5G+水平平衡监测系统原理图
3 角度传感器研究
3.1 原理设计
基于牛顿第二定律,常用的角度传感器技术采用倾角测量理论;依据相关物理原理及系统学说,在同一个系统内部,速度V 是不可测量与计算的,而速度的变化量却是可以计算的,即加速度可测。若一个系统的初始速度为已知量,则可利用加速度极性积分计算获取相关速度以及直线位移情况。角度传感器的原理即倾斜角测量理论,利用惯性定律计算系统内的加速度[3]。若传感器未发生倾斜,即保持静止时,则意味着传感器在各个方向上(除重力方向)未获得加速度。重力加速度垂直轴与角度传感器灵敏轴之间的夹角可以定义为测量倾斜角,从而实现对倾斜度的测量。通过该传感器获得角度数据和信号后进行高精度A/D 转换获取数字信号,再经过滤波、平滑、方差估计等数据处理方式处理,得到高精度瞬时加速度,从而确定测量倾斜角的准确数值。
水平倾斜度监视模块中的角度传感器基于加速度原理,配置为双灵敏轴传感器。该双灵敏轴传感器主要针对水平面的倾斜和俯仰角度进行精确计算和感知,通常测量范围为-30°~30°,可以满足车载式移动变电站设备的运行需求。双灵敏轴传感器内部原理功能结构如图6 所示,为了完成数据处理,内部配置了A/D转换器、EEPROM 存储器、SPI 传输接口、信号调理电路等器件。而感测元件一般采用硅电容单元,以提升传感器运行稳定性。为了进一步提升双灵敏轴传感器的稳定性,采用了双通道配置,分别对两个灵敏轴情况进行感测,从而完成对水平面的倾斜和俯仰角度的计算。本传感器采用两种信号输出方式,即拟电压信号输出和SPI 数字信号输出。该传感器还配置了温度传感器,实现温度补偿,进一步降低环境温度对角度传感器的测量精度的影响。

图6 双灵敏轴传感器功能框图
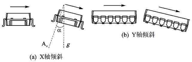
如图7 所示,(a)为X 轴(即竖轴)倾斜发生情况下传感器的计算方法。(b)为Y 轴(即横轴)倾斜发生情况下传感器的计算方法。下面以竖轴倾斜发生时的计算方法为例,进行重力加速度与加速度值之间的关系推演:
Ax=g·sina → α=arcsin(Ax/g)
其中,Ax 表示竖轴方向的加速度,g 为重力加速度,则可以利用上述公式计算得到竖轴倾角α。

图7 竖轴与横轴倾角变化情况
3.2 电路设计
电路设计如图8 所示。双灵敏轴传感器有两个模拟输出端,分别接入数模转换器的输入通道。同时,该传感器还具有SPI 接口,该接口共配置4 根线路,而水平倾斜度监视模块的输入输出接口非常少,为了提升工作效率,满足实际设备需求,故采用先信号输入再数模变换的数据采集方式。

图8 双灵敏轴传感器的电路设计
4 装置电路设计
4.1 接口电路设计
接口电路模块(nRF905)采用双侧18 针接口,各接口功能涵盖各类电源及数据,实现与核心控制器数据交互,其结构如图9 所示。

图9 nRF905接口电路
4.2 核心控制器设计
核心控制端是基于STM32F103RBT6 芯片而开发的。该芯片是32 位内核,性能优良、成本低廉、性价比高、功耗小、兼容性强,是最佳的MCU 选择。其外设电路设计如图10 所示。

图10 核心控制器电路设计
5 结束语
针对移动变电站运行特殊要求开发的提升车载式移动变电站运行安全的5G+ 水平平衡监测系统,基于双灵敏轴传感器实现对车载移动变电站水平平衡度的实时监测;基于5G 通信技术实现监测数据以及报警信号的实时传输,提升了车载式移动变电站运行的安全性、可靠性和稳定性。
该装置及对应方法可以应用于车载式移动变电站,检测灵敏,报警及时可靠,方便使用,通用性强,能够对移动变电站平板车水平度进行有效监测,消除因为平板车水平度异常而引起的安全隐患,保证设备和人身安全。
参考文献:
[1] 陈云瑶,胡梦泉,刘洪春.车载式移动变电站在高海拔地区应用的消防技术分析[J].电力设备管理,2020(10):51-53.
[2] 段垿,叶伟清.基于5G移动网络的智能变电站自动化应用分析[J].电气开关,2020(02):90-92+96.
[3] 蔡晶,冉旺,韩丹,等.大功率车载式移动变电站设计应用系统研究[J].广东电力,2020(01):86-92.
上一篇:AR HUD中阳光负载建模的重要性
下一篇:基于深度学习的交通场景中行人检测方法
推荐阅读最新更新时间:2026-03-19 10:32
- 边缘计算主机盒选购指南:五大核心指标解析
- Arm AGI CPU 更多细节:台积电 3nm 制程、Neoverse V3 微架构
- Arm AGI CPU 重磅发布:构筑代理式 AI 云时代的芯片基石
- Arm 拓展其计算平台矩阵,首次跨足芯片产品
- 阿里达摩院发布RISC-V CPU玄铁C950,首次原生支持千亿参数大模型
- 边缘 AI 加速的 Arm® Cortex® ‑M0+ MCU 如何为电子产品注入更强智能
- 阿里达摩院发布玄铁C950,打破全球RISC-V CPU性能纪录
- VPU中的“六边形战士”:安谋科技Arm China发布“玲珑”V560/V760 VPU IP
- 利用锚定可信平台模块(TPM)的FPGA构建人形机器人安全
- 基于 Blackfin 数字信号处理器 (DSP) 的 ADZS-BF518F-EZLITE、ADSP-BF518F EZ-Kit Lite 评估系统
- 使用 ON Semiconductor 的 CAT3200Z 的参考设计
- LTC2162 演示板,16 位 65Msps ADC,LVDS 输出,5-140MHz
- 使用 Analog Devices 的 LTC3526BEDC-2 的参考设计
- LT3091HT7 在极低输出电压下低压降操作的典型应用
- 蓝牙协议分析工具nRF52840 MDK USB Dongle
- NCV2902DR2G 维恩桥振荡器运算放大器的典型应用
- LTC4100EGN 演示板,智能电池充电器 DCIN = 15V-20V / 3.5V
- TC78H620FNG 双桥直流有刷电机驱动器评估板
- 带有 DRP w/Try.SRC 和 Type-C 插座的 PTN5110 USB PD 的典型应用

Arduino IDE 2.3.7
Linux技术手册
现代雷达系统的信号设计

BFR340T






京公网安备 11010802033920号