1、内部时钟简介

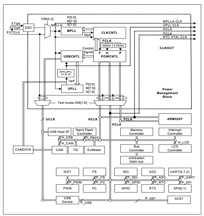
由S3C2440A的内部框图可以看出,S3C2440A主要分为三部分ARM920T、AHB、APB。其中FCLK是CPU相关的工作时钟,HCLK则为高速总线设备提供时钟,PCLK则为一些低速的外设提供时钟。

由S3C2440A的时钟产生框图,可知,整个系统的时钟源包含两种,外部晶振和外部引脚输入时钟源。通过OM[3:2]两位控制选择何种时钟源,OM[3:2]的状态根据复位引脚上升沿时OM2和OM3两个引脚的设置锁存。时钟源经MPLL倍频后产生CPU时钟FCLK,再经HDIVN分频后产生HCLK为AHB总线设备提供时钟,经PDIVN分频后产生PCLK为APB总线设备提供时钟。
2、软件配置时钟
由时钟框图可知,对S3C2440A的系统时钟主要由OM[3:2]、MPLL、HDIVN、PDIVN决定,而OM[3:2]由OM2和OM3引脚的状态决定,因此软件配置时只需操作MPLLCON寄存器、CLKDIVN寄存器,即可得到FCLK、HCLK、PCLK时钟。注意:若HDIVN不为0,则需要使用如下命令,将CPU总线配置成异步模式。

以下是选择外部12M晶振作为时钟源,配置CPU时钟400M,HCLK为100M,PCLK为80M的代码。

关键字:S3C2440 ARM芯片 时钟
引用地址:
S3C2440 ARM芯片时钟
推荐阅读最新更新时间:2026-02-18 12:12
以s3c2440为例的arm芯片的启动过程
arm 嵌入式芯片的启动过程对于嵌入式菜鸟来说其实是很复杂的,很多人都是一知半解,存在很多误区。在笔者看来,要想真正了解这一启动过程必须要首先了解存储器的区别与联系,参考文章:各种主流半导体存储器的区别与联系。还需要了解程序是如何编译链接和执行的。 本文将以s3c2440为例详细讲述 arm 芯片的启动过程。s3c2440支持两种启动模式:NAND FLASH 启动和非 NAND FLASH 启动(一般是NOR FLASH 启动,并且可以配置数据宽度),通过 OM1、OM0 两个管脚来控制。 NAND FLASH启动过程 当 OM1、OM0 两个管脚都为低电平时,CPU 就被配置成了 NAND FLASH 启动。此时 CP
[单片机]
以s3c2440为例讲解arm芯片的启动过程
arm 嵌入式芯片的启动过程对于嵌入式菜鸟来说其实是很复杂的,很多人都是一知半解,存在很多误区。在笔者看来,要想真正了解这一启动过程必须要首先了解存储器的区别与联系,参考文章:各种主流半导体存储器的区别与联系。还需要了解程序是如何编译链接和执行的。 本文将以s3c2440为例详细讲述 arm 芯片的启动过程。s3c2440支持两种启动模式:NAND FLASH 启动和非 NAND FLASH 启动(一般是NOR FLASH 启动,并且可以配置数据宽度),通过 OM1、OM0 两个管脚来控制。 NAND FLASH启动过程 当 OM1、OM0 两个管脚都为低电平时,CPU 就被配置成了 NAND FLASH 启动。此时 CP
[单片机]
Linux下S3C2440 RTC实时时钟驱动配置与修改
Linux下对S3C2440 RTC的支持非常完善,我们只需要做简单的修改,即可使用RTC 1、vi arch/arm/mach-s3c2440/mach-smdk2440.c static struct platform_device *smdk2440_devices __initdata = { &s3c_device_usb, &s3c_device_lcd, &s3c_device_wdt, &s3c_device_i2c0, &s3c_device_iis, &s3c_device_rtc, //这里我们添加上RTC平台设备,默认是没添加的 }; 2、make zImage 3、使用与测试 L
[单片机]
S3C2440时钟频率
系统时钟 MINI2440开发板在没有开启时钟前,整个开发板全靠一个12MHz的晶振提供频率来运行,也就是说CPU,内存,UART等需要用到时钟频率的硬件都工作12MHz下,而S3C2440A可以正常工作在400MHz下,两者速度相差可想而知,就好比牛车和动车。如果CPU工作在12MHz频率下,开发板的使用效率非常低,所有依赖系统时钟工作的硬件,其工作效率也很低,比如,我们电脑里面经常提到的超频,超频就是让CPU工作在更高的频率下,让电脑运算速度更快,虽然频率是越高越好,但是由于硬件特性决定了任何一个设备都不可能无止境的超频,电脑超频时要考虑到CPU或主板发热过大,烧坏的危险,同样开发板的主板上的外设和CPU也有一个频率限度,AR
[单片机]
s3c2440裸机-时钟编程(二、配置时钟寄存器)
1.2440时钟时序 下图是2440时钟配置时序: 1.上电后,nRESET复位信号拉低,此时cpu还无法取指令工作。 2.nRESET复位信号结束后变为高电平,此时cpu开始工作。此时cpu主频FCLK=osc。 3.此时可以配置PLL,经过lock time后,FCLK倍频成新的时钟。 2.如何配置时钟 在参考手册的特性里介绍了S3C2440的工作频率,Fclk最高400MHz,Hclk最高136MHz,Pclk最高68MHz。那么 我们干脆配置FCLK:HCLK:PCLK= 400:100:50 (MHz). 1,先配置lock time 我们取芯片手册上的推荐值。 /* LOCKTIME(0x4C000000)
[单片机]
s3c2440时钟频率设置
时钟源选择 在nRESET的上升沿锁存OM 引脚,两个引脚在原理图中都接地,所以都为低电平。所以MPLL的时钟源来源于晶振;UPLL的时钟源也来源于晶振。 2. 配置流程 t1时刻:上电后,晶振起振,FCLK直接由晶振产生; t2时刻:nRESET拉高,OM 被所存,晶振作为MPLL与UPLL的输入,但是由于MPLL与UPLL还未配置,所以FCLK还是工作于晶振时钟; t3时刻:软件设置PLL CONTROL REGISTER (MPLLCON & UPLLCON)寄存器,配置MDIV、PDIV、SDIV的值,决定MPLL与UPLL的输出频率;紧接着设置CLOCK DIVIDER CONTROL (CLKDIVN)寄存器,
[单片机]
s3c2440的系统时钟
下面内容是《ARM处理器裸机开发实战—机制而非策略》里的,以s3c2440开发板为例 系统时钟是整个电路的心脏。 总体来说,与s3c2440处理器有关的时钟主要有4种:Fin、FCLK、HCLK和PCLK。 Fin: 外部输入的晶振频率 FCLK: 主要用于CPU核 HCLK: 主要用在与AHB总线互连的设备上(存储器控制器、lcd控制器、dma) PCLK: 主要用在与APB总线互连的低速设备上(uart adc 定时器) S3c2440系统时钟概述 S3c2440处理器的系统时钟分为两部分,外部有时钟输入引脚,内部有2个锁相环将外部输入时钟倍频到处理器工作所需要的时钟。锁相环相当于一个时钟变换电
[单片机]
ARM裸机程序研究 - S3C2440时钟初始化
2440内部的时钟主要有3个, FCLK, HCLK, PCLK。 FCLK 提供给ARM920T内核使用, HCLK主要提供给高速外设使用,如显示接口,内存控制器, PCLK提供给低速外设使用,如串口,SPI, GPIO 等。另外还有一个UCLK, 只提供给USB Host 和USB Device使用。 2440的时钟来源有两种,外部时钟和通过外接晶振提供时钟。时钟源的选择通过引脚OM2和OM3来决定。因此,在芯片上电的时刻,就已经确定了时钟源。典型的时钟源配置是外界一个12M的无源晶振。 时钟源确定后,下面就是进一步确定各个时钟得频率。2440内部有一个PLL来合成频率,该PLL称为MPLL。它利用前面选择的时钟源,合
[单片机]