苹果 Vision Pro 头显新专利探索“头控”方案:可调音量、亮度等

发布者:火星最新更新时间:2024-07-08 来源: eepw关键字:苹果  Vision  Pro  头显  专利 手机看文章 扫描二维码
随时随地手机看文章

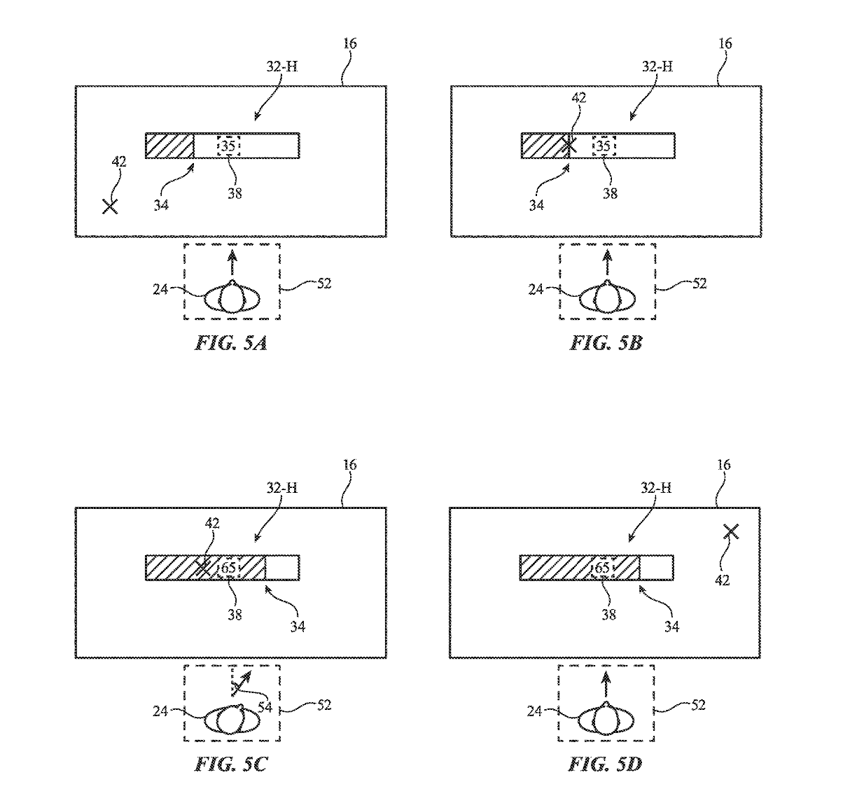
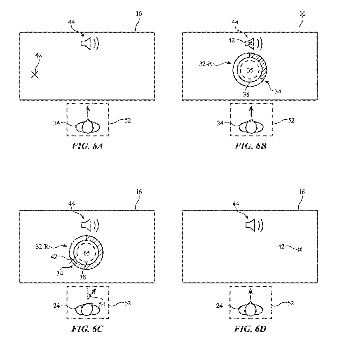
根据美国商标和专利局最新公示的清单,苹果公司获得了一项关于 Vision Pro 头显的新专利,在手势、眼球追踪之外探索头部控制方案。

根据专利描述,Vision Pro 头显佩戴者可以通过倾斜或转动头部,来移动屏幕上的滑块,未来可能用于调整音量和亮度等等。

对于双手不便的 Vision Pro 头显用户来说,苹果的这项专利探索提供了新的解决方案,佩戴者只需要移动头部和观察事物,就能控制苹果 Vision Pro 头显上的一切。IT之家附上相关图片如下:

这种“头部控制”方式必然会加剧佩戴者的晕动症,因此尚不清楚苹果未来是否会部署该专利方案,装备到 Vision Pro 后续产品中。


关键字:苹果  Vision  Pro  头显  专利 引用地址:苹果 Vision Pro 头显新专利探索“头控”方案:可调音量、亮度等

上一篇:一文详解AR增强现实系统实现原理
下一篇:如何从可穿戴设备过渡到医疗设备?

推荐阅读最新更新时间:2026-03-23 19:48

苹果 Vision Pro 专利:内置视力矫正系统,佩戴者无需加装夹片
3 月 29 日消息,根据美国商标和专利局(USPTO)近日公示的清单,苹果公司获得了一项关于 Vision Pro 头显的相关专利,暗示未来不再需要夹片,头显可以内置视力矫正系统,灵活针对不同佩戴者进行调整。 对于近视、散光的用户来说,如果想要购买 Vision Pro 头显,需要额外购买蔡司的眼镜夹片。而根据这项专利描述,苹果希望未来在头显中引入视力矫正系统。 该专利名称为《带有视力矫正的头显设备》,概述中提及该系统有测量用户眼睛特征的传感系统,包括夏克-哈特曼(Shack-Hartmann)波前传感器、Tscherning 传感器或光线追踪传感器之类的波前传感器,来测量用户眼睛中的折射误差,如散光、远视和近视。 专利
[物联网]
<font color='red'>苹果</font> <font color='red'>Vision</font> <font color='red'>Pro</font> <font color='red'>头</font><font color='red'>显</font>新<font color='red'>专利</font>:内置视力矫正系统,佩戴者无需加装夹片
苹果 Vision Pro 成外科医生新宠:简化手术过程、高分辨率显示让手术更精准
报道称加州大学圣地亚哥分校的外科医生们正积极测试苹果 Vision Pro 头显,并在佩戴该头显的情况下成功执行了超过 20 例微创手术。 加州大学圣地亚哥分校未来手术中心的外科医生兼主任圣地亚哥・霍根(Santiago Horgan)认为,Vision Pro 头显凭借着出色的表现,赢得了不少外科医生的关注和青睐,未来可能在医疗领域带来显著变革。 霍根表示 Vision Pro 的变革潜力,可能超越当前用于手术辅助的机器人设备。他认为尽管 Vision Pro 对消费者来说价格较高,但与大多数医疗设备相比,医院能够负担得起这一技术,且值得在美国更多医院内推广。 霍根认为 Vision Pro 可以通过整合相关信息来简
[嵌入式]
<font color='red'>苹果</font> <font color='red'>Vision</font> <font color='red'>Pro</font> <font color='red'>头</font><font color='red'>显</font>成外科医生新宠:简化手术过程、高分辨率显示让手术更精准
消息称华为正研发苹果 Vision Pro 竞品:搭载麒麟旗舰处理器、主动散热设计
11 月 28 日消息,据外媒 wccftech 报道,华为正在研发苹果 Vision Pro 头显的竞品,这款设备预计将配备桌面级旗舰处理器,性能相对华为麒麟 9000S 处理器应当更高。 ▲ 华为此前推出的 VR Glass 此外,华为的头显竞品预计价格相对苹果 Vison Pro 头显的 3499 美元(IT之家备注:当前约 25053 元人民币)更低,整体设计形式上采用“内置计算单元、电池包外置”的做法、并配备主动散热进行热管理。 外媒同时表示,除了华为外,荣耀也在寻求推出类似的头显,但具体细节暂时不得而知。 ▲ 图源 外媒 wccftech
[物联网]
苹果专利获批:结合摄像和 SMI 传感器更好追踪佩戴者眼球运动
10 月 20 日消息,根据美国商标和专利局(USPTO)公示的技术专利,苹果公司获得了一项适用于 Vision Pro 头显和未来 AR 眼镜的技术专利,通过结合摄像头和自混合干涉测量(SMI)传感器,构建下一代眼球追踪系统。 IT之家注:传统的眼部监测技术基于摄像头或视频,依赖于眼睛的主动照明、眼睛图像采集,以及提取瞳孔中心和角膜闪烁等眼睛特征方式。 此类眼球追踪监测技术存在功耗、外形尺寸、计算成本和延迟等挑战,影响头显设备的重量、续航和功能等等。 苹果公司在专利中描述了使用 1 个或者多个 SMI 传感器,跟踪眼球运动的系统、设备、方法和装置。在一些实施例中,SMI 传感器可以单独使用,或者与相机组合使用,也可以确定凝视
[手机便携]
苹果新AR/VR专利获批:看到HomePod可控制播放
根据国外科技媒体 MacRumors 报道,苹果计划为即将推出的 VR / AR 头显带来 Continuity(连续互通)功能,在设备和虚拟现实之间也能实现无缝体验。 Continuity 功能可以让你在不同设备之间,实现将 iPhone 用作 Mac 的摄像头;无需拿起 iPhone,便可接打电话;戴着 Apple Watch 时,你的 Mac 还能自动解锁等诸多功能。 根据欧洲专利局上周公示的专利清单,苹果获得了名为《用于扩展现实 (XR) 系统的多设备 Continuity》专利,构想了未来头显如何和其它苹果设备进行联动。 IT之家分享其中一个示例如下,头显佩戴者在 iPhone 屏幕上查看电子邮件,会在 i
[物联网]
专利显示苹果眼镜 VR可采用苹果智能戒指作为配件
苹果正在继续研究一款智能戒指设备,该设备可以成为苹果眼镜、苹果VR头显等设备的配件或与之配合使用。苹果公司已经申请了许多与手指佩戴设备相关的专利。周四公布的一项新专利申请延续了之前在 “可扩展环形设备 ”方面的工作。   苹果这项专利描述的系统包含了一个 “配置在用户手指上佩戴的可穿戴电子设备”,以及一个 “包含用户可查看头戴式显示设备”。苹果在专利描述当中表示,当可穿戴电子设备穿戴在用户的手指上时,具有与用户手指纵轴平行的旋转铰链、视觉标记和收集用户输入的第一传感器。   有趣的是,该专利还指出,苹果VR头显等设备将内建一个传感器,并可以检测戴在用户手指上的视觉标记,以跟踪其运动,也许可以提供某种类型基于手势的控制。头戴部
[手机便携]
新<font color='red'>专利</font>显示<font color='red'>苹果</font>眼镜 VR<font color='red'>头</font><font color='red'>显</font>可采用<font color='red'>苹果</font>智能戒指作为配件
专利揭秘:苹果全新MR,内含波导显示系统
日前美国专利商标局公布两份与苹果自动驾驶相关的沉浸式XR系统专利申请,包括旨在支持一系列娱乐和工作用例的虚拟现实系统和显示数字辅助信息的增强现实系统。 1. 增强现实系统 对于名为“Augmented Reality Display System(增强现实显示系统给)”的专利申请,苹果主要介绍了在诸如挡风玻璃的一个或多个透明表面创建AR显示器。具体而言,这种AR显示器能够向驾驶员和乘客显示重要的信息,如车辆行驶速度,以及可见和不可见的道路危险(传感器可见但位于车乘人员盲区内)。 同样的系统可以提供额外的细节,比如为道路元素叠加增强的图形。在一个实例中,可以用不同语言描述来显示路标,从而允许驾驶员更容易看到和理解。对于驾
[物联网]
<font color='red'>专利</font>揭秘:<font color='red'>苹果</font>全新MR<font color='red'>头</font><font color='red'>显</font>,内含波导显示系统
苹果三项增强现实新专利助力AR发展
苹果公司在最新曝光的三项有关增强现实的新专利中透露,它将继续致力于使用智能环来帮助检测用户的动作,以及在AR头显中播放相关音频并在现实世界中定位虚拟对象。 苹果在美国专利号20190349662中描述了一种AR头显具有设备安装音频模式。这特别适用于在用户眼睛前面安装了其他设备(如iPhone)的头显。专利表示,可以将头显配置为确定移动设备是否安装在头显底座上,然后将音频信号从设备处理器发送到无线耳机,并更改移动设备或无线耳机中一个或多个的音频模式。因此,当iPhone安装在头显中时,音频可以自动路由到该头显的扬声器。如果不是,则使用iPhone自己的扬声器。 另一份专利申请号为20190346938的专利申请,描述了一种带
[物联网]
<font color='red'>苹果</font>三项增强现实新<font color='red'>专利</font>助力AR<font color='red'>头</font><font color='red'>显</font>发展
小广播
最新嵌入式文章
何立民专栏 单片机及嵌入式宝典

北京航空航天大学教授,20余年来致力于单片机与嵌入式系统推广工作。

厂商技术中心

 
EEWorld订阅号

 
EEWorld服务号

 
汽车开发圈

 
机器人开发圈

电子工程世界版权所有 京ICP证060456号 京ICP备10001474号-1 电信业务审批[2006]字第258号函 京公网安备 11010802033920号 Copyright © 2005-2026 EEWORLD.com.cn, Inc. All rights reserved