新能源电动汽车和传统燃油车不一样,没有发动机,转而加装了一个大的电池;
随着新能源汽车的快速发展,热管理系统的重要性日益突出,因为不同零部件或者位置的最佳工作温度不一样,例如电机,电控,电池,座舱等
今天,小二和大家分享新能源汽车热管理系统中的***,包括:
主控制器
集成预驱的主控制器
智能高低边开关,H桥驱动
1
热管理系统系统功能概览
新能源汽车的动力来源靠电池放电;在动力电池充电时,尤其高压充电时候,电池发热家居,如果不进行热控制,存在热失控的风险;而动力电池充满电情况下,如在冬天,天气寒冷,其能放出的电量将大幅下降,影响行程
整车热管理系统,主要功能之一是解决电池制冷和加热的问题
行驶时候,新能源汽车是驱动电机,电机中有永磁材料,永磁材料在高温条件下工作可能会发生退磁现象,影响电机寿命。所以,热管理系统需要对主驱电机进行降温
新能源汽车的板载充电器(OBC),充电时线束上流过大电流,会形成压降,引起导线发热。同时充电系统中的开关器件(IGBT或碳化硅),工作时候的动态损耗和静态损耗都会带来一些发热,所以,热管理系统需要对OBC进行冷却
夏天太热,冬天太冷,座舱空调是舒适的关键,与传统汽车用发动机带动空压机制冷不同,新能源汽车是用电池的电制冷,所以要使用电子空压机。冬天车辆启动时,先要将电池局部加热到相对稳定可靠的工作区间,以便输出比较大的动力。所以,不仅人需要取暖,电池也需要加热。热管理系统将制冷需求和加热需求综合起来,对能量进行互动和互换 (本段参考纳芯微市场总监叶健的分享)
2
热管理系统系统
如下图,热管理和家里空调/地暖的逻辑类似,主要分两个部分,一个是产生或消耗热量的(PTC或者热泵),一个是传输通路(多通阀,膨胀阀等);

通过抽象,一个热管理系统基本由如下组成:
MCU控制器
泵或者阀门驱动
风扇驱动


3
热管理系统的***机会
热管理TMS主控MCU:不清楚TMS的功能安全具体要求级别,小二理解满足ASIL-B的国产MCU应该胜任,苏州智芯,旗芯微,云途等的MCU可选;
集成LIN及预驱的主控制器:旋智,凌鸥,纳芯微,峯岹
旋智SPD1179及优势


凌鸥集成LIN Phy及预驱的AT08X和AT03X

纳芯微NSUC1610及特性


峰岹科技 FU6815Q1/FU6865Q1

桥驱动及智能高低边开关:用于控制泵或者阀门
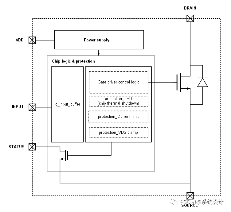
纳芯微,NSE11409

车规级40V/单通道90mΩ智能低边开关, 具备完整的诊断与保护功能,芯片内置>45V的过压钳位,特别适用于驱动继电器和阀门等电感负载,实现快速退磁。该款芯片内部能够对输出进行限流,具备开路诊断以及过温保护等功能。能够在-40℃至125℃的环境温度下正常运行,可提供SO-8和SOT-223两种封装形式,满足不同的设计需求。
瓴芯微,LNQ37160Q1
车规级四通道、160mΩ 智能高边开关LNQ37160Q1,是继已量产四通道、1000mΩ智能高边开关发布的第二颗高边开关芯片。可广泛用于摄像头,仪表,LED灯,继电器,电磁阀,电阻加热丝等负载元件。
此外,希荻微,稳先微也推出了相关的智能高低边,可以用于电磁阀门控制
矽力杰 H桥驱动SA52270

◆ 输入电压: 5-38V
◆ 输出电流: 15A
◆ 具有防直通保护
◆ 上管电流采样功能
◆ 集成欠压锁定、热关断、过压钳位保护、输出短路保护
◆ 低功耗待机模式
◆ PWM工作模式
◆ 输出电流检测
◆ 具有故障诊断功能
◆ 紧凑型封装: SOP16
◆ 符合AEC-Q100 Grade 1标准

两个全桥可驱动两相步进电机,主要应用于TMS汽车热管理系统阀门驱动中的步进电机应用模块。
上一篇:求一种电动车的800v高压快充架构技术方案
下一篇:基于TDA7386的4通道汽车放大器电路图
推荐阅读最新更新时间:2026-03-25 05:13
- 边缘计算主机盒选购指南:五大核心指标解析
- Arm AGI CPU 更多细节:台积电 3nm 制程、Neoverse V3 微架构
- Arm AGI CPU 重磅发布:构筑代理式 AI 云时代的芯片基石
- Arm 拓展其计算平台矩阵,首次跨足芯片产品
- 阿里达摩院发布RISC-V CPU玄铁C950,首次原生支持千亿参数大模型
- 边缘 AI 加速的 Arm® Cortex® ‑M0+ MCU 如何为电子产品注入更强智能
- 阿里达摩院发布玄铁C950,打破全球RISC-V CPU性能纪录
- VPU中的“六边形战士”:安谋科技Arm China发布“玲珑”V560/V760 VPU IP
- 利用锚定可信平台模块(TPM)的FPGA构建人形机器人安全
- 用于 7VIN 至 16VIN、1.5V 和 1.2V 输出的 LTM4628EV DC/DC 模块稳压器的典型应用电路
- 使用 Analog Devices 的 LTC3728LIGN 的参考设计
- DER-406 - 适用于 A19 灯的 5.76 W 高 PF 非隔离降压-升压型 TRIAC 调光 LED 驱动器
- ADR5045B 5V 输出精密微功率并联模式电压基准的典型应用
- LT3970EDDB-3.42 2.5V 降压转换器的典型应用
- MC78M08BDTG 8V 电流调节器的典型应用
- LT1021DCN8-5 精密电压基准的典型应用
- DER-282 - 100W, 扁平(11 mm), LLC DC-DC转换器
- REF193 低压差开尔文连接电压基准的典型应用电路
- LT3088EM 线性稳压器用于添加软启动的典型应用

风扇散热器
电力电子技术基础第三版(Fundamentals of Power Electronics )
现代雷达系统的信号设计
BFR340T






京公网安备 11010802033920号