写这篇文章完全是回答一个网友的问题,因为我之前也是对这里不理解,现在简单说一下。源引问题“mini2440的地址到底是怎么分配的呢?内部rom ram 外部的ram和rom分别占用的地址是多少啊,我从板子上看到有3个k4561632N芯片还有一个S29AL016J70TF102.但是看了相关的电路图也不知道他的地址是怎么分配的”
你问的是mini2440的地址怎么分配。我只能再细节一下你的问题,mini2440处理器的地址怎么分配。mini2440的处理器是S3C2440,理论上,S3C2440处理器可以使用的物理地址空间可以达到4GB,其中前1GB的地址(也就是0x0000 0000--0x4000 0000)为外设地址空间,还有一部分为CPU内部使用的特殊功能寄存器地址空间(地址范围为0x4800 0000--0x5FFF FFFF),其余的地址空间没有使用。S3C2440地址空间分配情况如下图:

再看1GB的外设地址空间,下图为我从S3C2440芯片的数据手册截图

下面用两个表格说明外设地址空间好特殊功能寄存器地址空间
说到这里相信你就差不多理解了吧。
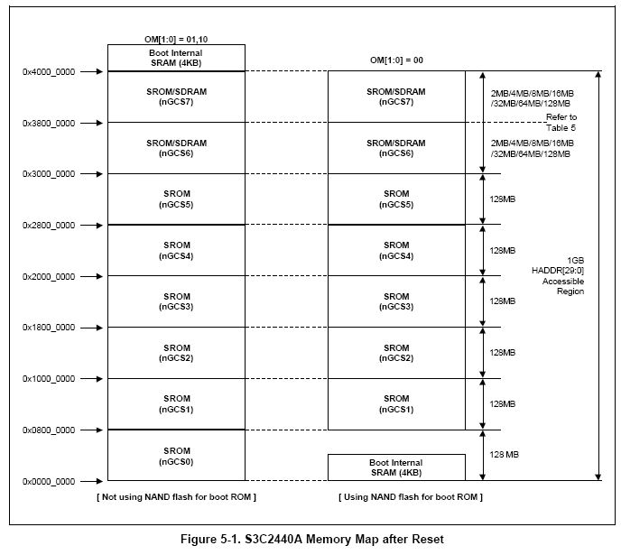
至于内外部ROM和RAM的地址,你看上面的那个图Figure5-1可以知道内部ROM和RAM分配情况。
k4561632N芯片是SDRAM,不过我的有两个,你的怎么有三个哈,S29AL016J70TF102是Nor FLash
上一篇:一起学mini2440裸机开发(五)--定时器0的基础实验
下一篇:一起学mini2440裸机开发(十三)--ADC原理与实验
推荐阅读
史海拾趣
- 本周机器人行业大事件TOP5
- G20周刊|埃斯顿与北自所达成战略合作、海康机器人发布光伏组件汇流带视觉检测解决方案
- 14家工业智能企业入选《上海市智能机器人标杆企业与应用场景推荐目录》
- MTBF突破4万小时!这家工业级3D相机品牌产品稳定性获权威机构认可
- 英特尔创始人、“摩尔定律”提出者戈登·摩尔去世
- ATmega88 掉电检测
- Exynos4412 Uboot 移植(六)—— 相关知识补充
- Exynos4412 Uboot 移植(五)—— Uboot 移植过程
- Exynos4412 Uboot 移植(三)—— Uboot添加自定义命令
- 德承全新16:9阳光下可视模块 展现高亮、FHD、广视角的新视野





ASM10DTBD-S664






京公网安备 11010802033920号