Exploring the Future of Edge Connectivity in Industrial Applications
探索工业应用中边缘连接的未来
我们的世界正变得更加智能且紧密相连,楼宇和工厂正以前所未有的方式实现自动化。为了确保这些新系统有效运行,可靠的信息通信至关重要——这不仅体现在工业控制面板内部,也包括遍布整个场所的各种设备之间的通信。
直到最近,工业网络还很复杂,可能需要使用各种协议和网关。这可能既昂贵又不可靠,难以确保应有的互联互通能力。
然而,随着10BASE-T1S以太网的出现,一场变革正在发生。这一创新标准取代了传统的现场总线技术,为现代网络环境提供了多种优势,并消除了对网关的需求。
支持新标准的一系列设备,如安森美的工业 10BASE- T1S 以太网控制器,为连接双绞线 (TP) 提供了可靠有效的单芯片解决方案。
工业应用中的可靠连接
虽然工业机柜内的距离相对较短,但要在工业应用中提供可靠的连接却极具挑战性,特别是由于存在大量的电气噪声。大型配电盘、电机和许多其他大电流/高电压设备都会产生一定程度的电磁干扰,从而破坏网络通信。
在办公应用中,由于中断造成的数据传输缓慢会令人沮丧或不便。然而,在工业应用中,数据的及时传输至关重要,尤其是来自控制机器运行的远程传感器数据。如果数据延迟或不正确,可能会违反流程参数,更有甚者会损坏生产设备。
出于同样的原因,及时传输数据变得尤为重要。这就不适用于那些基于随机超时来协商总线访问权限的协议。
10BASE-T1S 如何应对最新的工业连接挑战
网络基础设施常被形容为一个 '堆栈',最底层是物理实现(布线/媒体),其上是日益复杂的软件。在工厂 4.0 应用中,人工智能 (AI)、机器学习 (ML)、规划、执行、自动化、跟踪、库存控制、监督控制等位于顶层。最底层(物理层)是工厂车间,包括机器人、执行器、运动传感器和阀门在内的边缘节点在这里执行实体制造工作,通常覆盖多条装配线。]

图 1 - 10BASE-T1S 消除了对非以太网协议和相关网关的需求
堆栈顶层的通信通常是通过多千兆位以太网局域网进行的。然而,工厂车间的通信往往是由多点网络现场总线协议(包括 HART、RS-485、Mod-bus、DeviceNet、Profi-Bus 和 CAN)组成的零散网络,通过一对双绞线(可能是屏蔽线或非屏蔽线)以兆位或更低的速率运行。
为了使其成为一个统一的网络来工作,需要在以太网部分和其他协议之间安装网关,这会导致通信碎片化,增加了成本和复杂性。 一种新型以太网将显著增强智能楼宇和工厂应用中的边缘连接。
2019年IEEE 802.3cg规范的批准带来了10BASE-T1S。该标准基于标准以太网,但有几点重要差异,提供了10Mb/s的吞吐量、具有确定性冲突处理机制的多点操作。该标准能在非屏蔽单对双绞线(SPE)上运行,从而极大简化了安装过程并降低了成本。
确定性操作对于实时系统至关重要,因为实时系统必须在已知时间内传输信息。传统以太网使用的 CSMA/CD (载波监听多路访问/冲突检测),采用随机时间周期,因此无法保证通信时间的确定性。
10BASE-T1S 使用一种称为 PLCA(物理层冲突避免)的新系统,可避免总线上的数据冲突。在 PLCA 下,由节点0(协调器)发送2.0µs信标同步网络中的各个节点。然后,节点0获得传输机会。如果没有传输数据,则在默认标准 3.2 微秒内将机会传递给节点 1。如此循环往复,每个节点依次获得一次发送机会。循环结束后,协调器发出信标信号,新的循环开始。如果某个节点试图传输的数据超过允许的帧大小,那么 'jabber '功能就会中断传输并将传输机会传递给下一个节点,从而确保总线不会被阻塞。
通过使用PLCA,最坏情况下的媒体访问延迟可以通过当前节点数量与最大网络帧大小的乘积来计算,这是可以调整的。
许多工业应用都处于恶劣的电磁环境中,开关设备、电机和其他大型设备会产生辐射和传导噪声。尽管使用的是非屏蔽双绞线,但与现有的以太网协议相比,10BASE-T1S提供了出色的电磁兼容性(EMC)性能。
这部分归功于 PLCA 的应用。由于总线已知是无冲突的,当环境中存在高水平噪声时,物理层接收器能够使用复杂的算法来检测或恢复信号。
安森美的以太网控制器:增强连接性
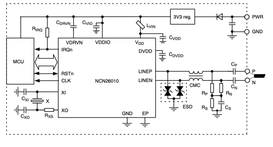
随着 10BASE-T1S 协议的推出,新器件针对 10BASE-T1S 进行了优化,使设计人员能够充分利用新特性。例如,安森美的 NCN26010 是一款符合 IEEE 802.3cg 标准的以太网收发器,它集成了媒体访问控制器 (MAC)、PLCA 调和子层 (PLCA-RS) 和适用于工业多点以太网的 10BASE-T1S 物理层。该器件内置了通过单根非屏蔽双绞线收发数据所需的所有物理层功能。

图2——NCN26010基本框图,标示了外部元器件
尽管集成了MAC、PLCA和PHY(包括TX+RX),该器件却可封装在一个小巧的4mm x 4mm QFN32封装内,并且仅需单一的3.3V电源供电。其时序是由外部25MHz晶体振荡器或外部25MHz时钟源驱动。与主机的通信则通过Open Alliance定义的OA SPI接口进行。
此外,NCN26010 还具有增强抗噪(ENI)功能,可将抗噪能力提高到高于 10BASE-T1S 规范要求的水平。这大大提高了嘈杂工业环境中的网络性能。
安森美于 2024 年 4 月发布了专为工业以太网设计的 NCN26000 10BASE-T1S 以太网收发器 (PHY)。它与早期的 NCN26010 有很多相同之处,包括符合 IEEE802.3cg 标准,可通过 SPE 实现多点、半双工 10 Mb/s 数据传输速率。

图 3 - NCN26000 详细内部框图
这两款器件的主要区别在于,NCN26000 在一个 5mm x 5mm QFN 封装中仅包含 PLCA-RS 和 PHY(TX + RX)。NCN26000 还需要 3.3 V 电源和 25MHz 外部时钟。
NCN26000具有符合IEEE802.3标准的媒体独立接口(MII),能够连接至任何具有CRS和COL引脚的CSMA/CD半双工功能的MAC,MII 还可用于配置和监测器件(称为 MDIO)。
这两款器件都集成了安森美的 ENI 功能,可显著提高 10BASE-T1S 多点应用在电噪声环境中的性能。在实验室进行测试时,这两款器件轻松超过了 25 米内 8 个节点的最低要求。事实上,进一步的测试表明,ENI 可在 25 米处支持约 40 个节点,在 50 米处支持 16 个节点,在 60 米处支持 6 个节点,轻松超过了 IEEE 规范的要求。
应用和部署场景
10BASE-T1S 不仅具有确定性工作的特点,其基于非屏蔽单对以太网(SPE)线缆,部署成本相对较低。10BASE-T1S 的更低成本和更简单的集成有助于为以前受预算或封装限制的应用带来广泛的可能性。其中一个例子是,在复杂的工业自动化中,通过将以前独立的传感器节点进行升级,连接到集中的网络系统。以前可用的连接方法可能过于昂贵或难以集成,而 10BASE-T1S 则克服了这些障碍。在新的机器人或自动化解决方案的设计过程中,也会遇到类似的成本和封装挑战,10BASE-T1S 可以再次帮助实现更高的互连性,而不会影响性能或增加预算。
随着楼宇自动化领域的不断发展,10BASE-T1S 可用于控制面板、人机界面 (HMI)、传感器、执行器和照明等应用,为整个楼宇提供高速可靠的主干网。
在工业应用中,性能和成本很重要,而抗噪声能力则尤为重要。在这里,10BASE-T1S 可用于连接从控制柜到可编程逻辑控制器 (PLC)、传感器、接触器和其他任何适当配备 10BASE-T1S 接口的器件。
结论
直到最近,由于边缘设备常用的各种协议相互之间不兼容,自动化工厂的网络需要在边缘设备和主以太网网络之间安装许多网关。通常情况下,这些现场总线协议包括 HART、RS-485、Mod-bus、DeviceNet、Profi-Bus 和 CAN,每种协议都需要各自的网关。这就增加了成本和复杂性,尤其是每个网关都需要软件更新和维护。
随着 10BASE-T1S 的出现,工业网络得以简化,同时性能也得到了提高。不再需要网关的存在,边缘连接也从低于 1Mb/s 的现场总线协议转变为10Mb/s 的确定性以太网。
安森美拥有一系列适用于新协议的产品,其中包括两款符合 IEEE 802.3cg 标准的控制器。凭借其独特的 ENI 功能,它们能够成功地部署在噪音最大的环境中,甚至可以在 25 米的线路上连接多达 40 个节点,是标准要求的四倍。
上一篇:人工智能前沿|2025 年影响工程的顶级趋势
下一篇:尼得科驱动(CT)成功举办工厂开放日活动 “品质见证 信赖之选” ——五年质保专题活
推荐阅读最新更新时间:2026-03-24 08:39
- 2026 IPC电子装联大师赛在沪开幕,标准与人才共筑卓越产业
- 在工业自动化和智能家用电器设计中实现支持边缘 AI 的电机控制
- 走进智能工厂:为何智能诊断是持续运行的关键
- AVEVA剑维软件推出全生命周期数字孪生架构,在英伟达技术加速下为吉瓦级AI工厂注入智能
- ABB参加中国发展高层论坛2026年会
- 数智再创新,新质领未来 | ABB再获多项行业大奖
- 智领 Agentic 时代:Mendix 11.8 发布,开启“低代码 + AI Agent”协作新范式
- Gartner预测,在AI组合中纳入中国 LLM 和多模态模型的全球企业占比
- 意法半导体发布75V STSPIN电机驱动芯片,方便用户扩展工业电机驱动器设计
- REF196 精密微功率、低压差堆叠电压基准的典型应用电路
- LTC4367IMS8 用于滞后调节的过压电源控制器的典型应用
- CLRC663非接触式读写器IC的典型应用
- 使用 ON Semiconductor 的 CS-5621 的参考设计
- RSO-0515S 15V、67mA输出DC/DC转换器典型应用电路
- NCP51200 3 Amp VTT 终端稳压器 DDR1、DDR2、DDR3、LPDDR3、DDR4 的典型应用
- LR645大电流SMPS启动电路典型应用
- ADR420 可编程电流源的典型应用
- DC417B,使用 LT1806CS8 多尺寸单运算放大器原型的演示板
- DM300019,用于评估 dsPIC30F 和 dsPIC33F MCU 系列器件的 dsPICDEM 入门开发板

Ethernet 接口 MII 模式下 CRS 等信号的处理
Follow me第三季第3期源代码
Seeed Studio XIAO ESP32S3 Sense 的多功能感知与连接实践
现代雷达系统的信号设计
BFR340T






京公网安备 11010802033920号